| 8.ネットワークの接続 | ||||||||||||||||||||||||||||||||||||||||||||||||||||||||||||||||||||||||||||||||||||||||||||||||||||||||||||||||||||||||||||||||||||||||||||||||
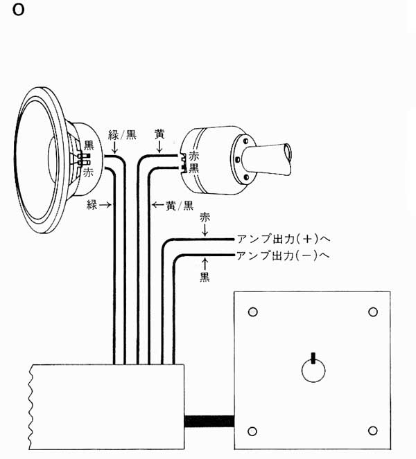
| ●ネットワークの接続 アンプの出力端子とネットワークの入力端子を接続します。ネットワークの黒色端子をアンプの(-)端子に、赤色端子を(+)端子に接続します。 大電力用のネットワークには、色分けされていない端子が付いています。白いライン上にある入力端子は "common"の意味を示す"C"のマークが付いており、アンプの(-)端子に接続します。他方の入力端子は(+)端子に接続します。ネットワークには入力コードをエンクロージャーの中に引き込む際に、気密を保つための小さな穴があいています。また、LX30は出力端子がコントロールユニットの裏側に付いています。 ネットワークとスピーカーユニットの接続は、ネットワーク選択表と配線図を参照し、各ユニットが正しい位相で動作するように注意して行ってください。この際、高音域ユニットの位相は、クロスオーバー周波数と使用するホーンレンズにより変化することに注意してください。 また、配線図はHL87、HL91、HL92、HL93をバッフル板に直接取付けた場合、ならびにHL88、HL89、HL90をホーンのマウスがバッフル板と同一平面を成すような位置に設置した時のものです。もし、ホーンレンズをリスナーの方向に15cm以上、突き出すか、または引込める場合には位相反転スイッチを取付け、男性ボーカル等のソースで十分な試聴を行いながら高音域のユニットの位相を切替え、最も自然な再生音が得られる位相条件を選んでください。 |
||||||||||||||||||||||||||||||||||||||||||||||||||||||||||||||||||||||||||||||||||||||||||||||||||||||||||||||||||||||||||||||||||||||||||||||||
ネットワーク選択表
|
||||||||||||||||||||||||||||||||||||||||||||||||||||||||||||||||||||||||||||||||||||||||||||||||||||||||||||||||||||||||||||||||||||||||||||||||
| 1:ユニットがD123の場合は、図Bの配線になります。 2:375は中音域ドライバーですので、高音域ユニット(075または077)とN7000が必要となります。 3:375をLX50と共に使用する場合、N7000を図Hのドライバーに置き換えて接続します。(すなわち、図Hのネットワークの黄のコードをN7000の赤色端子へ、黄/黒のコードを黒色端子に接続します) N7000と375、075(077)との接続は、図Nを参照して下さい。 |
||||||||||||||||||||||||||||||||||||||||||||||||||||||||||||||||||||||||||||||||||||||||||||||||||||||||||||||||||||||||||||||||||||||||||||||||
| ●位相反転スイッチ AWG-18のコードを使用してスイッチを図のように結線します。スイッチがトップの位置にある時には、センターとトップの端子が導通し、スイッチを切替えると高音域ユニットの位相が反転します。通常の聴取位置でスピーカーシステムを試聴しながら、スイッチの操作ができるように、コードを十分に長くしておくと便利です。 |
||||||||||||||||||||||||||||||||||||||||||||||||||||||||||||||||||||||||||||||||||||||||||||||||||||||||||||||||||||||||||||||||||||||||||||||||
![]() |
||||||||||||||||||||||||||||||||||||||||||||||||||||||||||||||||||||||||||||||||||||||||||||||||||||||||||||||||||||||||||||||||||||||||||||||||
| 1.アンプとスピーカーの接続方法 2.ワイドレンジ・フルレンジ・ウーファー 3.パッシブラジエーターの取付 4.システムのチューニング 5.スコーカー・ドライバー・ツイーター 6.ホーンレンズ 7.ネットワーク 8.ネットワークの接続 |
||||||||||||||||||||||||||||||||||||||||||||||||||||||||||||||||||||||||||||||||||||||||||||||||||||||||||||||||||||||||||||||||||||||||||||||||
|
|
||||||||||||||||||||||||||||||||||||||||||||||||||||||||||||||||||||||||||||||||||||||||||||||||||||||||||||||||||||||||||||||||||||||||||||||||